| 公司 | 聯系人 | 聯系電話 | 業務郵箱 |
| 深圳總公司 | 符總 | 139 2461 8582 | dgnmt@sznmt.com |
| 東莞分公司 | 符總 | 139 2461 8582 | dgnmt@sznmt.com |
| 羅經理 | 138 2723 8504 | ||
| 蘇州公司 | 李經理 | 138 5830 3164 | shnmt@sznmt.com |
| 上海分公司 | 符總 | 136 5168 6829 | shnmt@sznmt.com |
| 符經理 | 139 1632 4191 | ||
| 湖南分公司 | 符總 | 138 7504 3999 | hnmt@sznmt.com |
| 黃經理 | 138 0961 9295 | ||
| 北京分公司 | 符經理 | 138 1006 2418 | bjnmt@sznmt.com |
| 昆山分公司 | 符總 | 136 5168 6829 | ksnmt@sznmt.com |
汽車內飾件行業UV機主要技術參數
1、外形尺寸(約):長5500*高 1700(不含馬達高)*寬1500mm ;進出料部分各長1000mm,UV部分1500mm,出料部分長 3000mm,前后配可調節檔板,調節進料口高度 ;內寬 1200mm,進料高 300mm;
2、UV光源:采用2套6KW+4套3KW UV光源。采用鹵素燈管2套6KW燈安裝在UV機的頂部,兩側各安裝2套3KW燈(配升壓變壓器、反光罩、燈管,電容),加裝UV鏡面反光裝置,大大提高紫外光的使用率可達35%。各組UV燈可單獨控制,配可調節角度的調節機構,均可左右、上下高度調節(可調節角度為90度),增加可調整UV燈管角度的調節裝置,爐蓋上方均裝有調節UV燈管上下高度的旋扭手柄適用不同規格,多面產品的UV光固。(6KW燈管的總長660mm,有效光距500mm,波長為365nm; 3KW燈管的總長420mm,有效光距260mm,波長為365nm)每支等配裝有自動累時器,可隨時監控燈管的使用時間,方便燈管的更換。每套燈管都獨立裝有進口石英隔熱玻璃片,有效阻止其紅外線熱量輻射到產品,以免其產品受溫度過高而變形。
3、固化方式:平面照射;
4、電 源:三相五線制,380V,50HZ,操作面板及電箱在傳動帶的下方。每套光源配有獨立控制開關,可獨立調節光源功率,分為2檔(75%或100%)之間自由轉換。箱內裝有6套(變壓器、電容)光源啟動系統。
5、總功率:37KW;
| 獨特性能 | 客戶可選配置 |
|
UV能量更高,涂膜穿透能力更強;
聚光設計,進口高聚光反光燈罩,瞬時干燥,速度特快;
燈箱內部特殊設計的通風系統;
各燈皆可調節上下角度、高度;
輸送帶無極調速,輸送速度平穩可調;
傳動網帶自動調整裝置,有效防止跑偏;
燈管異常保護裝置。
全、半燈切換,合理省電。
|
進口UV光源
國產UV光源
顏色選擇圖例
![]() 客戶可以依照色卡指定色彩制作。
|
| ※根據固化產品設計不同固化設備,材質有烤漆、電鍍彩鋅、不銹鋼等,尺寸、規格可非標訂制,歡迎來電咨詢。 | |
| 控制系統選配 | |
| 按鈕開關控制 | 觸摸屏人機界面 |
| UV燈管選配 | |
| 國產UV燈管(汞燈、鹵素燈) | 進口UV燈管(汞燈、鹵素燈) |
| 變壓器選配 | |
| 銅線 | 鋁線 |
| 輸送帶選配 | ||
| 不銹鋼網帶 | 鐵氟龍網/布帶 | 附件鏈傳送帶 |
| 鏈板輸送帶 | 雙節距鏈條穿桿傳送帶 | PCB專用輸送鏈 |
| 玻璃行業專用傳送系統 | PVC皮帶 | 耐高溫帆布傳送帶 |
| 滾輪輸送 | 滾筒式輸送 | 非標定制輸送系統 |
| 冷卻系統選配 | ||
| 風冷 | 制冷 | 水冷 |
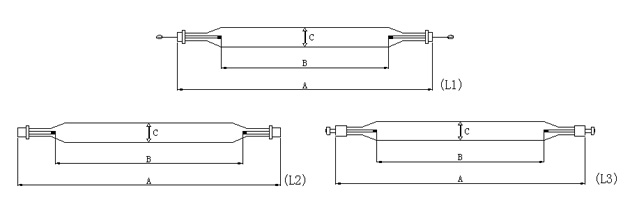
| 序號 | 圖號 | 功率 | 工件電壓(V) | 工作電流(A) | 全長A | 極距B | 管徑C | 功率密度(W/mm) | 備注 |
| 1 | L3 | 1KW | 135 | 8.1 | 335 | 200 | 25 | 50 | 220V電源 |
| 2 | L1 | 1KW | 135 | 8.1 | 230 | 125 | 25 | 80 | 220V電源 |
| 3 | L2 | 1.6KW | 285 | 5.6 | 360 | 204 | 25 | 80 | 220V電源 |
| 4 | L2 | 2KW | 300 | 7.5 | 400 | 250 | 22.5 | 80 | 380V電源 |
| 5 | L1 | 2.5KW | 420 | 6.3 | 473 | 305 | 22.5 | 80 | |
| 6 | L3 | 3KW | 700 | 5 | 620 | 460 | 22.5 | 65 | |
| 7 | L1 | 3KW | 700 | 5 | 360 | 250 | 25 | 120 | |
| 8 | L2 | 3.2KW | 290 | 12.2 | 360 | 264 | 25 | 120 | |
| 9 | L1 | 4KW | 670 | 6.3 | 664 | 508 | 22.5 | 80 | |
| 10 | L1 | 5KW | 700 | 7.8 | 700 | 600 | 25 | 80 | |
| 11 | L1 | 5KW | 750 | 7.5 | 725 | 625 | 22.5 | 80 | |
| 12 | L1 | 5KW | 750 | 7.5 | 775 | 625 | 22.5 | 80 | |
| 13 | L2 | 5KW | 850 | 6.3 | 804 | 653 | 20.5 | 80 | |
| 14 | L1 | 5.6KW | 950 | 7.2 | 826 | 673 | 25 | 80 | |
| 15 | L1 | 5.6KW | 840 | 7.5 | 850 | 770 | 22.5 | 80 | |
| 16 | L3 | 6KW | 950 | 7.5 | 910 | 745 | 25 | 80 | |
| 17 | L1 | 7.5KW | 925 | 8.8 | 803 | 653 | 22.5 | 120 | |
| 18 | L1 | 8KW | 1200 | 7.5 | 1150 | 1000 | 22.5 | 80 | |
| 19 | L1 | 8.4KW | 950 | 10.4 | 826 | 700 | 25 | 120 | |
| 20 | L1 | 9.6KW | 1570 | 6.6 | 1387 | 1247 | 25 | 80 | |
| 21 | L1 | 11KW | 1870 | 6.3 | 1575 | 1419 | 25 | 80 | |
| 22 | L1 | 13KW | 1870 | 7.5 | 1807 | 1651 | 25 | 80 |


